Description
Deadbolt throws when the handle is lifted
– 2 opposing steel hooks, deadbolt and latch
– Easily reversible latch as standard
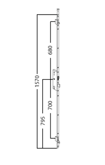
– 1570mm x 20mm faceplate with radius ends
– For use on single comporsite and timber doors
– Comes with a 10 year guarantee
– Corrosion resistant unhanded stainless steel keep set (purchased separately)
– 45mm backset
– Secured by Design




Reviews
There are no reviews yet.